Water Pump and Related Parts for 2015 Ram 2500
Vehicle
2015 Ram 2500
Change Vehicle
Categories
- Camshaft and Valve
- Crankcase Ventilation
- Crankshaft, Piston, Drive Plate, Flywheel, and Damper
- Cylinder Block
- Cylinder Head
- Engine Identification, Service Engines & Engine Service Kits
- Engine Mounting
- Engine Oiling, Oil Pan and Indicator (Dipstick)
- Manifolds and Vacuum Fittings
- Timing Belt/Chain and Cover and Balance Shaft
- Battery, Battery Tray and Cables
- Generators / Alternators
- Horns
- Ignition - Spark Plugs, Cables, Coils, and Glow Plugs
- Instrument Panel Cluster
- Keys, Modules and Engine Controllers
- Lamps-Interior and Exterior
- Navigation
- Park Assist
- Power Distribution Center, Fuse Block, Junction Block, Relays and Fuses
- Radio, Antenna, Speakers, DVD, and Video systems
- Sensors
- Starters
- Switches
- Wiper and Washer System
- Wiring and Repair
- Wiring-Body and Accessories
- Wiring-Headlamp to Dash
- Wiring-Instrument Panel
- Wiring-Powertrain
- Carpets, Floor Mats, Load Floor, and Silencers
- Consoles
- Door Trim Panels-Front and Rear
- Front Seats - Adjusters, Recliners, Shields and Risers
- Front Seats - First Row
- Headliners-Visors-Assist Straps
- Instrument Panel
- Panels-Moldings-Scuff Plates, Pillar, Cowl, 1/4 Panel Trim and Cargo Covers
- Rear Seats - Second Row
- Rear Seats - Second Row Adjusters, Recliners, Shields and Risers
- Rear Storage Compartment
- Camshaft and Valve
- Crankcase Ventilation
- Crankshaft, Piston, Drive Plate, Flywheel, and Damper
- Cylinder Block
- Cylinder Head
- Engine Identification, Service Engines & Engine Service Kits
- Engine Mounting
- Engine Oiling, Oil Pan and Indicator (Dipstick)
- Manifolds and Vacuum Fittings
- Timing Belt/Chain and Cover and Balance Shaft
- Battery, Battery Tray and Cables
- Generators / Alternators
- Horns
- Ignition - Spark Plugs, Cables, Coils, and Glow Plugs
- Instrument Panel Cluster
- Keys, Modules and Engine Controllers
- Lamps-Interior and Exterior
- Navigation
- Park Assist
- Power Distribution Center, Fuse Block, Junction Block, Relays and Fuses
- Radio, Antenna, Speakers, DVD, and Video systems
- Sensors
- Starters
- Switches
- Wiper and Washer System
- Wiring and Repair
- Wiring-Body and Accessories
- Wiring-Headlamp to Dash
- Wiring-Instrument Panel
- Wiring-Powertrain
- Carpets, Floor Mats, Load Floor, and Silencers
- Consoles
- Door Trim Panels-Front and Rear
- Front Seats - Adjusters, Recliners, Shields and Risers
- Front Seats - First Row
- Headliners-Visors-Assist Straps
- Instrument Panel
- Panels-Moldings-Scuff Plates, Pillar, Cowl, 1/4 Panel Trim and Cargo Covers
- Rear Seats - Second Row
- Rear Seats - Second Row Adjusters, Recliners, Shields and Risers
- Rear Storage Compartment
Browse Categories
Select category
- Camshaft and Valve
- Crankcase Ventilation
- Crankshaft, Piston, Drive Plate, Flywheel, and Damper
- Cylinder Block
- Cylinder Head
- Engine Identification, Service Engines & Engine Service Kits
- Engine Mounting
- Engine Oiling, Oil Pan and Indicator (Dipstick)
- Manifolds and Vacuum Fittings
- Timing Belt/Chain and Cover and Balance Shaft
- Battery, Battery Tray and Cables
- Generators / Alternators
- Horns
- Ignition - Spark Plugs, Cables, Coils, and Glow Plugs
- Instrument Panel Cluster
- Keys, Modules and Engine Controllers
- Lamps-Interior and Exterior
- Navigation
- Park Assist
- Power Distribution Center, Fuse Block, Junction Block, Relays and Fuses
- Radio, Antenna, Speakers, DVD, and Video systems
- Sensors
- Starters
- Switches
- Wiper and Washer System
- Wiring and Repair
- Wiring-Body and Accessories
- Wiring-Headlamp to Dash
- Wiring-Instrument Panel
- Wiring-Powertrain
- Carpets, Floor Mats, Load Floor, and Silencers
- Consoles
- Door Trim Panels-Front and Rear
- Front Seats - Adjusters, Recliners, Shields and Risers
- Front Seats - First Row
- Headliners-Visors-Assist Straps
- Instrument Panel
- Panels-Moldings-Scuff Plates, Pillar, Cowl, 1/4 Panel Trim and Cargo Covers
- Rear Seats - Second Row
- Rear Seats - Second Row Adjusters, Recliners, Shields and Risers
- Rear Storage Compartment
- Camshaft and Valve
- Crankcase Ventilation
- Crankshaft, Piston, Drive Plate, Flywheel, and Damper
- Cylinder Block
- Cylinder Head
- Engine Identification, Service Engines & Engine Service Kits
- Engine Mounting
- Engine Oiling, Oil Pan and Indicator (Dipstick)
- Manifolds and Vacuum Fittings
- Timing Belt/Chain and Cover and Balance Shaft
- Battery, Battery Tray and Cables
- Generators / Alternators
- Horns
- Ignition - Spark Plugs, Cables, Coils, and Glow Plugs
- Instrument Panel Cluster
- Keys, Modules and Engine Controllers
- Lamps-Interior and Exterior
- Navigation
- Park Assist
- Power Distribution Center, Fuse Block, Junction Block, Relays and Fuses
- Radio, Antenna, Speakers, DVD, and Video systems
- Sensors
- Starters
- Switches
- Wiper and Washer System
- Wiring and Repair
- Wiring-Body and Accessories
- Wiring-Headlamp to Dash
- Wiring-Instrument Panel
- Wiring-Powertrain
- Carpets, Floor Mats, Load Floor, and Silencers
- Consoles
- Door Trim Panels-Front and Rear
- Front Seats - Adjusters, Recliners, Shields and Risers
- Front Seats - First Row
- Headliners-Visors-Assist Straps
- Instrument Panel
- Panels-Moldings-Scuff Plates, Pillar, Cowl, 1/4 Panel Trim and Cargo Covers
- Rear Seats - Second Row
- Rear Seats - Second Row Adjusters, Recliners, Shields and Risers
- Rear Storage Compartment
No.
Part # / Description / Price
Price
1
Water Pump
Mopar
Mopar Notes: Engines: 5.7L V8 HEMI CNG ENGINE. 5.7L V8 HEMI VVT Engine.
Description: After 01/28/13 Includes gasket, nipple, tube, plug, and sensor
2
Water Pump Gasket
Mopar
Mopar Notes: Engines: 5.7L V8 HEMI CNG ENGINE. 5.7L V8 HEMI VVT Engine.
Description: NOT Included With Long Block Engine Install Kit
MSRP $10.45
$7.25
MSRP $10.45
$7.25
3
Fluid Temperature Sensor
Mopar
Mopar Notes: Engines: 5.7L V8 HEMI CNG ENGINE. 5.7L V8 HEMI VVT Engine. 6.4L HEAVY DUTY V8 HEMI WITH MDS.
Description: Engine Oil Temperture. Engine Oil Temperature
MSRP $67.90
$46.63
MSRP $67.90
$46.63
4
Heater Feed Tube
Mopar
Mopar Notes: Engines: 5.7L V8 HEMI CNG ENGINE. 5.7L V8 HEMI VVT Engine.
Description: Included with Water Pump
MSRP $77.25
$53.25
MSRP $77.25
$53.25
5
Nipple
Mopar
Mopar Notes: Engines: 5.7L V8 HEMI CNG ENGINE. 5.7L V8 HEMI VVT Engine.
Description: .375-18X2.00. Also Serviced With Cover
MSRP $15.85
$11.02
MSRP $15.85
$11.02
6
Pipe Plug
Mopar
Mopar Notes: Engines: 5.7L V8 HEMI CNG ENGINE. 5.7L V8 HEMI VVT Engine. 6.4L HEAVY DUTY V8 HEMI WITH MDS.
Description: .250-18X.413. Oil Gallery Middle and Right Rear Of Cylinder Block
MSRP $5.15
$3.48
MSRP $5.15
$3.48
7
Stud
Mopar
Mopar Notes: Engines: 5.7L V8 HEMI CNG ENGINE. 5.7L V8 HEMI VVT Engine. 6.4L HEAVY DUTY V8 HEMI WITH MDS.
Description: Water Pump to Front Cover to Block
MSRP $5.50
$3.77
MSRP $5.50
$3.77
8
Hex Head Bolt And Coned Washer, Mounting
Mopar
Mopar Notes: Engines: 5.7L V8 HEMI CNG ENGINE. 5.7L V8 HEMI VVT Engine. 6.4L HEAVY DUTY V8 HEMI WITH MDS.
Description: M8X1.25X35.00. Water Pump To Timing Case Cover To Cylinder Block
MSRP $3.40
$2.26
MSRP $3.40
$2.26
9
Hex Head Bolt And Coned Washer, Mounting
Mopar
Mopar Notes: Engines: 5.7L V8 HEMI CNG ENGINE. 5.7L V8 HEMI VVT Engine. 6.4L HEAVY DUTY V8 HEMI WITH MDS.
Description: M8X1.25X130.00. Timing Case Cover To Cylinder Block
MSRP $4.70
$3.19
MSRP $4.70
$3.19
10
Hex Head Bolt And Coned Washer, Mounting
Mopar
Mopar Notes: Engines: 5.7L V8 HEMI CNG ENGINE. 5.7L V8 HEMI VVT Engine. 6.4L HEAVY DUTY V8 HEMI WITH MDS.
Description: M8X1.25X80.00. Timing Case Cover To Cylinder Block
MSRP $3.80
$2.55
MSRP $3.80
$2.55
11
Hex Flange Nut
Mopar
Mopar Notes: Engines: 5.7L V8 HEMI CNG ENGINE. 5.7L V8 HEMI VVT Engine. 6.4L HEAVY DUTY V8 HEMI WITH MDS. All Diesels Engines. Transmissions: 6-SPEED MANUAL G56 TRANSMISSION. All Manual Transmissions.
Description: M8x1.25x8.0. Park Brake Lever to Park Brake Sled
MSRP $4.20
$2.90
MSRP $4.20
$2.90
11
Hex Flange Nut
Mopar
Mopar Notes: Engines: 5.7L V8 HEMI CNG ENGINE. 5.7L V8 HEMI VVT Engine. 6.4L HEAVY DUTY V8 HEMI WITH MDS.
Description: M8x1.25x8.0. Park Brake Lever to Park Brake Sled
MSRP $4.30
$2.96
MSRP $4.30
$2.96
No.
Part # / Description / Price
Price
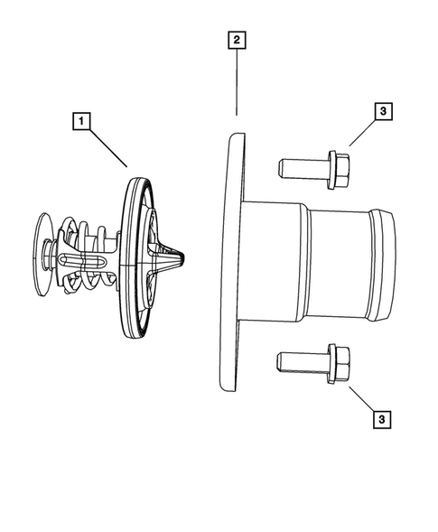
1
Thermostat
Mopar
Mopar Notes: Engines: 5.7L V8 HEMI CNG ENGINE. 5.7L V8 HEMI VVT Engine.
Description: 195 Degrees. with Seal
MSRP $91.75
$62.70
MSRP $91.75
$62.70
2
Thermostat Housing
Mopar
Mopar Notes: Engines: 5.7L V8 HEMI CNG ENGINE. 5.7L V8 HEMI VVT Engine.
MSRP $70.00
$47.96
MSRP $70.00
$47.96
3
Hex Head Screw And Washer, Mounting
Mopar
Mopar Notes: Engines: 5.7L V8 HEMI CNG ENGINE. 5.7L V8 HEMI VVT Engine. 6.4L HEAVY DUTY V8 HEMI WITH MDS.
Description: M8x1.25x30. Timing Case Cover Support Bracket To Cylinder Block
MSRP $23.60
$16.41
MSRP $23.60
$16.41
No.
Part # / Description / Price
Price
12
6 Lobe External Head Bolt, Mounting
Mopar
Mopar Notes: Engines: 5.7L V8 HEMI CNG ENGINE. 5.7L V8 HEMI VVT Engine. 6.4L HEAVY DUTY V8 HEMI WITH MDS. 6.7L I6 CUMMINS TURBO DIESEL ENGINE. Transmissions: 6-Spd Automatic 68RFE Transmission.
Description: M6X1.00X16.00. Rear Crankshaft Seal Retainer To Cylinder Block

